Стальные водогрейные котлы
Стальные отопительные водогрейные котлы в Семее
Стальные водогрейные котлы применяются для получения горячей воды с температурой выше 115 °С. Первым из таких котлов можно считать стальной котел Ревокатова (котел HP), запроектированный по типу шатровых секционных чугунных водогрейных котлов.
Котельный завод производит стальные водогрейные водотрубные котлы Семей с разнообразными топочными устройствами, различной степени автоматизации.
| Степень автоматизации | Вид топки | Вид топлива |
|---|---|---|
| Ручная | Колосниковая | Уголь |
| ОУР | Уголь, дрова | |
| Подовая | Дрова, поленья, доски, поддоны, опилки, стружка, кора, щепа | |
| Полумеханическая | РПК | Уголь |
| ЗП РПК | Уголь | |
| Механическая | ТШПМ | Уголь |
| ТЛПХ | Уголь | |
| Автоматическая | Вихревая | Опилки, щепа, стружка, кора (в ручном режиме - дрова, доски, поддоны и др.) |
| Ретортная | Уголь, пеллеты | |
| Наддувная горелка | Газ, дизель, мазут, отработка |
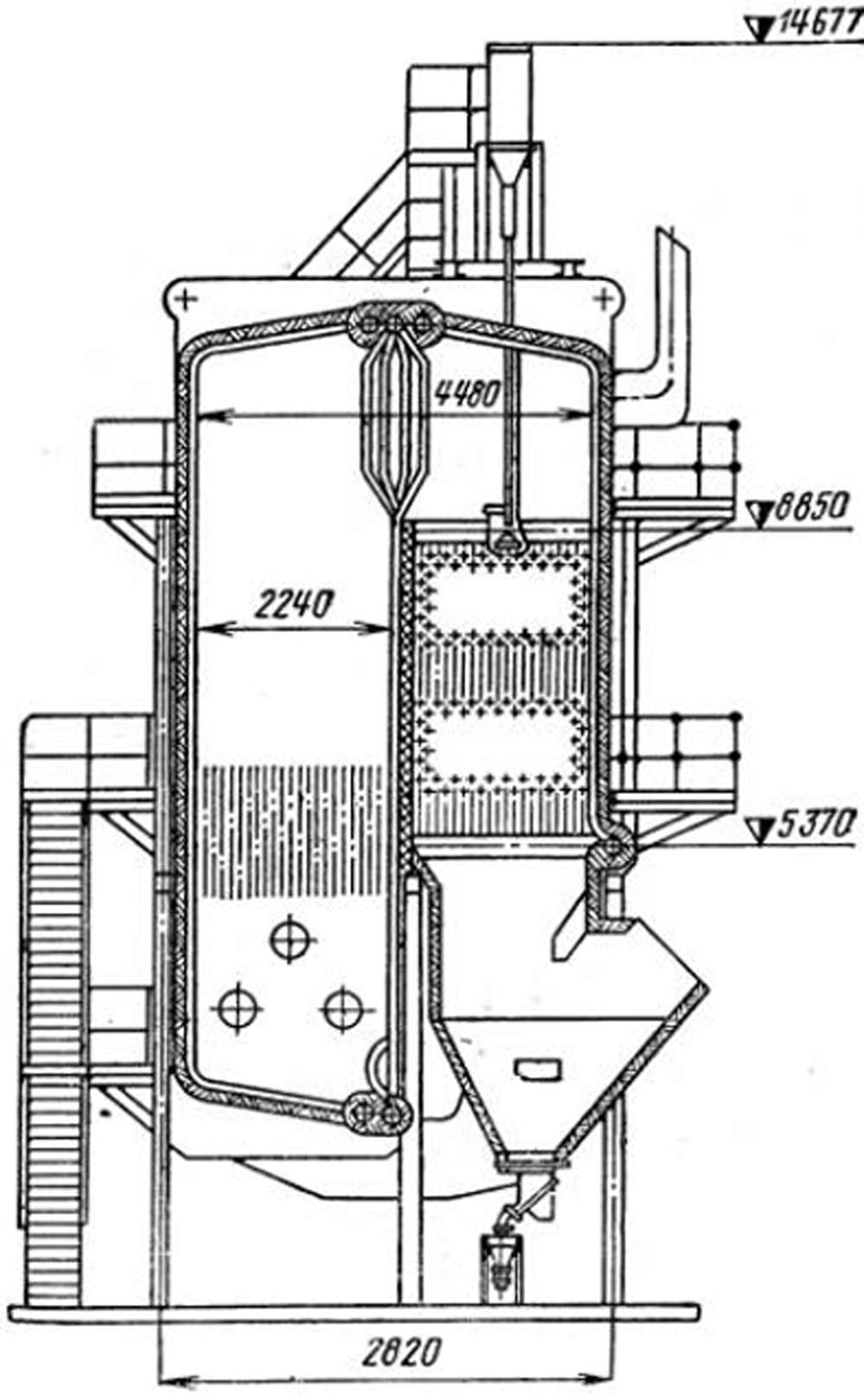
Стальные водогрейные котлы, их общий вид показан на рис. 6-6.

Рис. 6-6.Стальные водогрейные котлы конструкции Ревокатова.
Конструкция стального котла Ревокатова
Стальные водогрейные котлы состоят из секций, каждая из которых включает в себя по три вертикальных трубы диаметром 89х3,25 мм, объединенных вверху и внизу горизонтальными трубами того же диаметра. Для образования потолка топки в экранную и горизонтальную трубу вварена под углом (около 45°) труба. За экранными (вертикальной, наклонной и горизонтальной) трубами расположены кирпичная перегородка и газоход, в котором размещены поверхности нагрева со смешанным и продольным омыванием труб дымовыми газами. Газы поступают в боковые каналы и борова, расположенные сзади котла. Горизонтальные трубы каждой секции вварены в коллекторы - трубы с диаметром 108х3,75 мм, по которым осуществляются подвод и отвод воды из системы теплоснабжения. Кирпичная обмуровка имеет обвязочный каркас, к которому крепится гарнитура. Колосниковая решетка может быть расположена в выносной, заглубленной или внутренней топке с принудительной подачей воздуха. Подвод воды осуществляется сзади котла, отвод - с фронта.
Стальные водогрейные котлы HP нельзя использовать при температуре воды выше 115°С, они не экономичны из-за высокой температуры уходящих газов и на сернистых топливах при низкой температуре стенок труб подвержены коррозии.
Мощные стальные водогрейные котлы были предложены ВТИ, Бийским котельным заводом, Центроэнергомонтажем, Институтом использования газа АН УССР и Уралэнергочерметом и разработаны сначала как пиковые для ТЭЦ, а затем использованы для установки в котельных. Котлы нового типа созданы Дорогобужским и Барнаульским котельными заводами и ЦКТИ.
В новых агрегатах величины давлений воды на входе в котел и потери напора до 0,25 МПа (2,5 кгс/см2) обеспечивают отсутствие закипания воды при всех режимах в тепловых сетях - нормальном и пониженном давлении до 1 МПа (10 кгс/см2), при температурах 130-150 °С и меньших.
Для осуществления дальнего теплоснабжения выбраны температура воды за котлом 200 °С и давление 2,5 МПа (25 кгс/см2). Для этих котлов введены некоторые ограничения по содержанию серы в топливе, золы и влаги для повышения надежности и длительности работы, а также уменьшения загрязнения воздушного бассейна.

Рис. 6-7. Основные компоновки стальных водогрейных котлов. а - П-образная; б - горизонтальная; в - башенная.
Конструкции стальных водогрейных котлов можно подразделить по компоновке поверхностей на три основные группы: П-образные; горизонтальные и башенные. Схемы расположения топки 1 и конвективных поверхностей нагрева 2 в каждом из указанных типов стальных водогрейных котлов приведены на рис. 6-7.
Многоходовая компоновка поверхностей нагрева с дополнительным холостым газоходом выполнена для осаждения уноса несгоревших частиц топлива, вынесенных дымовыми газами из топочной камеры.
В башенных котлах (рис. 6-7, в) для снижения газового сопротивления все конвективные поверхности нагрева размещены в одном газоходе.
Устройство водогрейного котла ТВГ
Одной из наиболее простых конструкций стальных котлов является предложенный Институтом использования газа АН УССР водогрейный котел типа ТВГ производительностью 4,7 и 8,3 МВт (4 и 8 Гкал/ч) и предназначенный для работы на природном газе (рис. 6-8). Котел состоит из нескольких экранных секций (в том числе с двусторонним освещением) из труб с диаметром 51х2,5 мм, установленных в топочной камере, и оборудован подовыми горелками. За кирпичной перегородкой имеется пучок труб, образующий конвективную поверхность. Вход дымовых газов в пакеты этой поверхности сверху, выход - внизу. Продукты сгорания омывают конвективную поверхность, состоящую из труб диаметром 28х2,5 мм, со скоростью 8 м/с. Перегородки между тремя газоходами образованы за счет плавников, приваренных к трубам. Вода из тепловой сети поступает в коллектор конвективной части, проходит через трубы в газоходах и далее последовательно омывает трубы каждого экрана, разделенного для увеличения скоростей воды на секции. Из секций вода отводится в сеть через патрубок, расположенный в верхней части топки.

Рис. 6-8. Стальной водогрейный котел ТВГ для работы на природном газе.
Высокие скорости воды - около 1 м/с получены за счет деления пучка труб конвективного газохода на три части, а каждого экрана - на четыре части. Это привело к увеличению гидравлического сопротивления котла до 0,4 МПа (4 кгс/см2), что превышает рекомендованное типажом значение.
Топочная камера котла ТВГ имеет теплонапряжение объема 4 кВт/м3 или 325x103 ккал/(м3/ч), число подовых горелок равно числу панелей экранов без одной. Под огневыми каналами для распределения воздуха установлен металлический лист с отверстиями. Вентилятор имеет напор 0,5-1 кПа (50-100 кгс/м2), поскольку к горелкам подводится природный газ среднего давления.
Значительная скорость дымовых газов и наличие пучка поперечно омываемых труб с большим числом рядов обусловили необходимость установки дымососа с напором около 1 кПа (100 кгс/м2).
Котлы ТВГ при испытаниях и в эксплуатации подтвердили основные проектные технико-экономические показатели.
Разработанные по типажу унифицированные, блочные водогрейные котлы производительностью 4,6; 7,5; 11,6 и 23,2 МВт (4; 6,5; 10 и 20 Гкал/ч) с механизированными топочными устройствами изготовляются для сжигания каменных, бурых углей, газа и мазута и 35 МВт- (30 Гкал/ч) только для газа и мазута.


Рис. 6-9. Стальной водогрейный котел ДорКЗ - ЦКТИ на газе и мазуте производительностью 4,6 и 7,5 МВт (4 и 6,5 Гкал/ч) (а) и 11,0, 23 и 35 МВт (10,20 и 30 Гкал/ч) (б).
Общий вид котла для сжигания газа и мазута, рассчитанного на теплопроизводительность 4,6 и 7,5 МВт (4 и 6,5 Гкал/ч) и 11,6, 23,2 и 35 МВт (10; 20 и 30 Гкал/ч), показан на рис. 6-8.
Выбор этого типа котлов выполнен на основе детального анализа всех имевшихся конструкций стальных водогрейных котлов, оценки их технико-экономических показателей.
Из топки, сплошь экранированной и оборудованной газомазутной горелкой с ротационной форсункой, продукты сгорания поступают Из топки, сплошь экранированной и оборудованной газомазутной горелкой с ротационной форсункой, продукты сгорания поступают в котлах 11,6, 23,2 и 35 МВт в опускной газоход из труб заднего экрана. Затем, совершив поворот на 180° и пройдя фестон, дымовые газы поднимаются и охлаждаются в конвективных поверхностях нагрева.
В водогрейных газомазутных котлах на 4,6 и 7,5 МВт (4 и 6,5 Гкал/ч) продукты сгорания из топки попадают в специальные окна с фестоном, образованные разводкой труб заднего экрана. За окнами находятся поворотная камера и конвективный пучок, через который дымовые газы проходят сверху вниз.
В котлах, показанных на рис.4, изменение теплопроизводительности достигнуто за счет удлинения топки и конвективного газохода при неизменных ширине и высоте агрегата.
Котлы для слоевого сжигания топлива при производительности 4.6 и 7,5 МВт (4 и 6,5 Гкал/ч) по своему профилю аналогичны котлам той же теплопроизводительности для сжигания газа и мазута. В топочной камере установлена ленточная колосниковая решетка ТЛЗ, подача топлива на которую осуществляется с помощью пневмомеханического забрасывателя ПМЗ.
При производительности котлов 11,6 и 23,2 МВт (10 и 20 Гкал/ч) в топках устанавливается колосниковая решетка ЛЦР или ЧЦР обратного хода.
Общие виды котлов с слоевыми топками ПМЗ-ТЛЗ и ПМЗ-ЛЦР или ЧЦР на производительность 4,6 и 7,5 МВт показаны на рис. 6-9 а) и для 11,6 и 23,2 МВт (10 и 20 Гкал/ч) показаны на рйс. 6-9 б).

Рис. 6-10. Стальной водогрейный котел Дор КЗ - ЦКТИ для твердого топлива, сжигаемого в слое, производительностью 4,6; 7,6; 11,6 и 23 МВт (4; 6,5; 10 и 20 Гкал/ч). а - без воздухоподогревателя; б - с воздухоподогревателем.
Котлы для каменных углей работают на холодном воздухе, а для бурых оборудованы стальными трубчатыми воздухоподогревателями.
При одинаковой с газомазутными топками ширине агрегата высота его при сжигании сухих топлив, не требующих подогрева воздуха, ≈7,8 м, а при наличии подогрева - 5,9 м, но с большей длиной.
Основные показатели котлов для слоевого сжигания твердого топлива:
- теплонапряжение зеркала горения 1,56- 2,2 МВт/м2 или 1,36 -1,9 -106 ккал/(м2/ч);
- теплонапряжение объема топки 370 - 550 кВт/м3 или 320 - 470х1 х103 ккал/(м3/ч);
- температура уходящих газов от 190 до 238 °С и к. п. д. от 79 до 84%.
Все новые котлы собираются из одинаковых деталей, имеют одинаковые шаги и диаметры труб экранов - 60х3 мм, конвективного пучка - 28х3 мм и при сжигании бурых углей воздухоподогреватели из труб 40x1,5 мм.
Обмуровка котлов облегченная, натрубная, каркас упрощенный, так как нагрузка от металлической части котла и цепной решетки передается непосредственно на фундамент. Все водогрейные котлы поставляются заводом-изготовителем в виде блоков и готовых деталей цепных решеток, собираемых при монтаже. Котлы оборудуются системой дробевой очистки конвективных поверхностей нагрева и системой обдувки радиационныхповерхностей нагрева. Работа котлов регулируется с помощью автоматики. Все агрегаты разработаны для установки в закрытых и полуоткрытых котельных.
Стальной водогрейный котел для сжигания газа и мазута с П-образной компоновкой
Для сжигания газа и мазута изготовляются стальные водогрейные котлы производительностью 35 МВт (30 Гкал/ч) с П-образной компоновкой конструкции ЦЭМ и Дорогобужского котельного завода на пиковые нагрузки типа ПТВМ-30 и основные нагрузки ТВГМ-30.
Общий вид котла ТВГМ-30 приведен на рис. 6-10. Число встречно расположенных горелок - шесть, подача воздуха в горелки от двух вентиляторов, тяга - искусственная одним дымососом на котел. Трубы экранов диаметром 60х3 мм, конвективной части - 28х3 мм, стены топки и газоходов полностью закрыты трубами. Тепловое напряжение объема топочной камеры 470 кВт/м3 или 400* 103 ккал/(м3/ч), температура уходящих газов 190 °С при работе на газе и 237 °С на мазуте, к. п. д. соответственно равен 90 и 88 %.

Рис. 6-11. Общий вид котла ТВМГ-30.
Облегченная обмуровка котла крепится к трубам, каркас выполнен в виде постамента. Котел, начиная с отметки 5,4 м, расширяется кверху.
Поставка трубной части котла заводом-изготовителем осуществляется восемью крупными блоками. При работе котла на мазуте предусматривается дробевая очистка конвективных поверхностей нагрева. Вода во всех интенсивно обогреваемых поверхностях нагрева движется только вверх: вход и выход воды выполнены через верхний коллектор труб, закрывающих заднюю стену конвективной шахты. Регулирование работы этих котлоагрегатов автоматизировано.
Дальнейшее усовершенствование и изучение опыта эксплуатации стальных водогрейных котлов продолжается. Предлагается серия котлов на теплопроизводительность 35, 58, 116, 210 МВт (30, 50, 100, 180 Гкал/ч) П-образного типа (рис. 6-11).

Рис. 6-12. Серия котлов на теплопроизводительность 35, 58, 116, 210 МВт (30, 50, 100, 180 Гкал/ч) П-образного типа.
Башенные водогрейные котлы
Продолжается выпуск и башенных водогрейных котлов на теплопроизводительность 58; 116 и 210 МВт (50, 100 и 180 Гкал/ч) для установки на ТЭЦ и в отопительных котельных. Общий вид котла ПТВМ-50 показан на рис. 6-13. Котлы этого типа запроектированы для работы на газе и мазуте; они имеют горелки с индивидуальными вентиляторами и мазутные механические форсунки, охлаждаемые сетевой водой. Топочная камера экранирована трубами диаметром 60хЗ мм, конвективный пучок выполнен из труб диаметром 28х3 мм с шахматным расположением.
Как видно из рис.6-13, котел ПТВМ имеет натрубную облегченную обмуровку и несущий каркас, к которому прикреплены верхние коллекторы для расширения котла вниз. Тяга создается стальной дымовой трубой (высотой порядка 50 -70 м), опирающейся на каркас агрегата.

Рис. 6-13. Общий вид башенного котла ПТВМ-50.
Котел имеет автоматическое регулирование процесса горения и может работать в пиковом и основном режимах. У котлов башенного типа очистка наружных поверхностей нагрева от отложений при сжигании мазута во время их работы отсутствует, из-за чего растут отложения, газовое сопротивление, температура уходящих газов и снижается производительность.
При остановах котла выполняют обмывку поверхностей нагрева котла щелочной водой, которую после обмывки необходимо очистить до сброса в канализацию.
Работа котла на естественной тяге при плюсовых наружных температурах и постоянной высоте дымовой трубы ограничивает теплопроизводительность, так как нагрузка котла зависит только от разности плотностей воздуха и дымовых газов.
Стенки дымовой трубы и поверхностей нагрева, лежащих ниже трубы башенных котлов сильно подвержены коррозии раствором сернистой кислоты.
Дорогобужским заводом разработан котел на 58 МВт (50 Гкал/ч) . Котлоагрегат рассчитан на сжигание угля типа челябинского (размалываемого в молотковых мельницах с наддувом) и подаваемого принудительно в шесть турбулентных горелок, расположенных в два яруса на боковых стенах топочной камеры.

Рис. 6-14. Стальной водогрейный котел ДорКЗ теплопроизводительностью 58 МВт (50 Гкал/ч) для камерного сжигания твердого топлива.
Удаление шлака из топочной камеры сухое, теплонапряжение объема - 230 кВт/м3 или 200-103 ккал/(м3/ч). На стенах топки установлено по восемь обдувочных аппаратов с подачей к ним сжатого воздуха. Растопка котла должна выполняться на мазуте от форсунок, размещенных в амбразурах. Стены топки поворотной камеры и заднего экрана защищены гладкими экранными трубами диаметром 60х4 мм.
Продукты сгорания, пройдя фестон с щагом труб 250 мм и поворотную камеру, входят в конвективный пучок, выполненный из труб 28хЗ мм и разделенный на две части. За этим пучком размещен стальной одноходовой по газам и трехходовой по воздуху воздухоподогреватель из труб диаметром 40x1,5 мм. Подогрев воздуха осуществляется до температуры 350 °С при охлаждении дымовых газов до 220 °С; к. н. д. котлов 87 - 88 %.
Обмуровка котла облегченная, натрубная с уплотнительной штукатуркой и обмазкой. Котел подвешен к каркасу за верхние коллекторы. Топочная камера расширяется вниз; кубы воздухоподогревателя опираются нижними точками на отдельный каркас.
Такого же типа для твердого топлива выполняется котел теплопроизводительностью 116 МВт (100 Гкал/ч). Оба котла рассчитаны на давление 2 МПа (20 кгс/см2) и температуру воды на входе 70°С, на выходе 200°С при гидравлическом сопротивлении 0,2 МПа (2 кгс/см2).
Однако эти агрегаты еще не прошли эксплуатационную проверку, поэтому заводами с участием ЦКТИ разрабатываются новые конструкции стальных водогрейных котлов, предназначенные для работы на твердом топливе, сжигаемом в пылевидном состоянии.
Для того чтобы купить стальной водогрейный котел в Семее вы можете оформить заявку в отделе сбыта по телефону +7 (7172) 69-59-73 или оформить заявку он-лайн.
Статьи
Документы завода
Собственное производство
- Паровые котлы от 300 кг до 2.5 тонны пара в час
- Промышленные водогрейные котлы от 150 КВт до 4 МВт на всех видах топлива
- Механические топки ТШПМ, шурующая планка и ТЛПХ, ленточное полотно прямого хода
- Циклоны для очистки воздуха и дымовых газов для производств и промышленных отраслей
- Транспортеры и системы топливоподачи и шлакоудаления
с производства
Мы на